SAAB WIS ONLINE

9-3 (9400) FaultTrace Mode

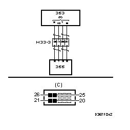
Rectifying the lead

Rectify the lead between pin 7(C) on the main unit and pin 3 on the CD changer.